?!DOCTYPE html PUBLIC "-//W3C//DTD XHTML 1.0 Transitional//EN" "http://www.w3.org/TR/xhtml1/DTD/xhtml1-transitional.dtd">
名称QE型球型补偿接?
标签Q?/strong>E型球型补偿接?/a>
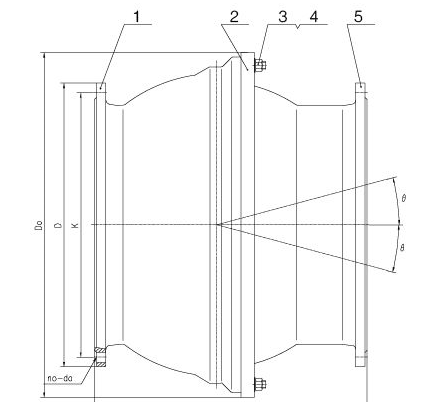
球Ş补偿接头主要适用于地面沉降大、震动大、地形复杂的道q接。安装在道上后Q球体可以以回{中心在θ角范围内自p{动,来补偿管道因地基沉降、热胀L引v的挠曌Ӏ具有补偉K大,占据I间,体d,安装?
E型球形補償接頭特?/span>
⑴可以补偿多l方向。Ş式多P补偿量大Q寿命长;
⑵能有效的补偿或消除安装误差;
⑶刚度低Q弹性反力小;
⑷适用温度范围高,抗腐蚀性能?/span>;
⑸能有效地隔震动和减小噪音;
性能特点球Ş补偿接头主要适用于地面沉降大、震动大、地形复杂的道q接。安装在道上后Q球体可以以回{中心在θ角范围内自p{动,来补偿管道因地基沉降、热胀L引v的挠曌Ӏ具有补偉K大,占据I间,体d,安装方便Q综合成本低{优炏V?/span>
沛_良众业有限公司 手机P18638277136 Q?371-64018718 传真Q?nbsp;0371-64018718 邮箱Q?50165323@qq.com 地址Qm义市西村镇西?nbsp; |址Q?a href="http://m.nosports.cn" target="_self">http://m.nosports.cn
沛_良众业有限公司
手机P18638277136(销售陈l理)
13849173666(技术部陈工Q?/p>
邮箱Qhnlzpipe@126.com
Q?371-64018718
地址Qm义市西村镇西?/p>
|址Qhttp://m.nosports.cn
扫二l码联系在线客服沛_良众业有限公司 联系电话Q?8638277136 13849173666 邮箱Qhnlzpipe@126.com 地址Qm义市西村镇西? |址Q?a href="http://m.nosports.cn" target="_self">http://m.nosports.cn 备案/许可证号Q?豫ICP?8020186?/a> 技术支持:良众|络?/p>